
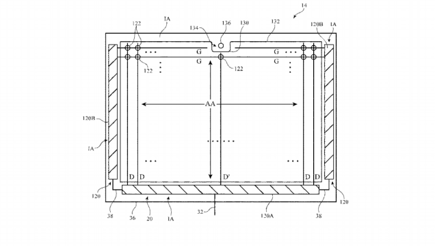
Patents aren’t written in stone, but they’re definitely a glimpse into what a company is mulling for future products. On that front, a newly released Apple patent hints the company is finally recognizing that most people use their iPads in landscape mode by shifting the front-facing camera and FaceID sensors onto the…
Source: Gizmodo – Who’s Ready to Get Mad Over an iPad Notch?