
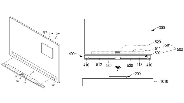
There are a few ways to hide or camouflage the bundle of cables that hang from most wall-mounted TVs—power, HDMI, etc.—but none are as truly invisible as the wireless technology that was recently revealed in a patent Samsung filed with the World Intellectual Property Office in March of last year. It eliminates cables…
Source: Gizmodo – Samsung’s All-Wireless TV Concept Is the Real Cordcutting Solution I Want