
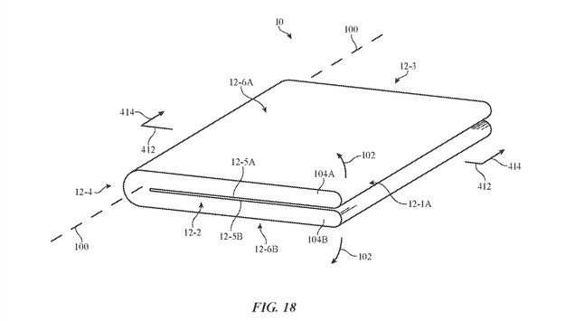
It seems like every year, we get a new prediction that a folding iPhone is on the way. According to some new patents, part of the reason for that wait may be because Apple has been exploring new ways to make every single inch of the elusive device into an input surface, even when it’s folded up like a clamshell. As…
Source: Gizmodo – Apple Patents Hint at Folding iPhone, Waterfall Display