
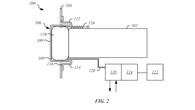
Apple’s Project Titan car has long been shrouded in mystery—most of what we know about it comes in the form of patents that trickle out into the public every few months. The latest patent, released this morning and originally filed in November 2016, shows Apple at one point imagined an extendable, somewhat inflatable,…
Source: Gizmodo – Apple’s Project Titan Dreamed Up a Car With Retractable Bumpers